DKP Flowmeters: gemonteerde zuigers met additieve dosering
Deze systemen zijn zeer nuttig in extreme klimaatomstandigheden en/of bij afwezigheid van elektronica.
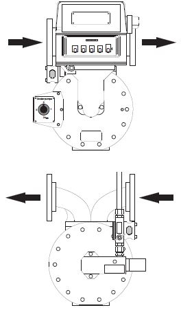
Het doseersysteem met de mechanische additieve zuigerpomp van het type DKP is een veelzijdig systeem dat wordt gebruikt voor het doseren en injecteren van een breed scala aan additieve producten.
Typische toepassingen zijn ontdoen van ijs (deicing) in de luchtvaartsector evenals additieven of markers voor minerale olie.

Eenvoudigheid is het grootste voordeel
Toepassingsbereik
Typische combinaties
De DKP word meestal toegepast op het type PD-meter van Alfons Haar:
Alfons Haar Positieve verplaatsing debiet Meter | Injector type | 1e cilinder (Optie A1 or A4) | 2e cilinder (Optie A1) | 1e + 2e cilinder gecombineerd |
|---|---|---|---|---|
Voor andere applicaties (Bijv. Satam merk meters) vraag de fabriek en de DKP Model Code | ||||
| MKA 2290 (2,000 lpm) | DKP 2,7 A4 | 2.7 = 1,000 ppm | ||
| DKP 2,7- 4,8 A1 | 2.7 = 1,000 ppm | 4.8 = 2,000 ppm | 3,000 ppm | |
| MKA 3350 (3,000 lpm) | DKP 4,1 A4 | 4.1 = 1000 ppm | ||
| DKP 4,1 - 7,1 A1 | 4.1 = 1,000 ppm | 7.1 = 2,000 ppm | 3,000 ppm | |